本次工厂端更新内容如下:
1、【订单审核页面--筛选“壳类型”,会显示数量】
功能说明:订单审核筛选“壳类型”,会展示当前壳类型数量,方便核对数量进行审单。
操作说明:
路径:【订单审核】,搜索条件选择“壳类型”,会显示对应壳类型数量。

2、【订单审核页面--孔位标记值支持直接选择】
功能说明:订单审核支持直接选择孔位标记值进行筛选数据。
操作说明:
路径:【订单审核】,孔位标记值支持直接选择筛选数据。先选“孔位标记”再选“孔位标记值”会数据联动显示。

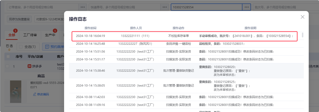
3、【订单审核页面--增加“不校验库存审单”功能】
功能说明:订单审核,增加“不校验库存审单”功能,库存不足也支持审单生产。
操作说明:
3.1 路径:【订单审核】,“审核并生成打印批次”按钮的右下角下标,点击后,出现“不校验库存审单”的按钮。


3.2 点击“不校验库存审单”,审核的时候不校验库存管理的系统配置,当前勾选审核的条码数据不校验库存数量,但是会扣减库存。
路径:【系统配置】-【库存配置】,不校验设置。

3.3 会记录“不校验库存审单”的操作日志。

4、【扫描发货、品检效果图展示优化】
功能说明:扫描发货、品检验货页面的效果图展示优化。
操作说明:
路径:【扫描发货】,展示顺序如下:
1.有作品图:展示工厂作品图;
2.没有作品图:判断商家有没有效果图,有则展示商家的效果图;
3.即没有作品图也没有商家效果图,展示SKU商品图;

路径:【品检验货】,展示顺序如下:
1.有作品图:展示合成叠加的效果图。
2.没有作品图:展示商家的效果图。

5、【扫描发货--增加按钮,快递停发会自动切换下一个可发快递并提前发货】
功能说明:扫描发货页面,发货设置增加“快递停发自动切换快递提前发货”按钮,勾选后,遇到订单快递停发的,会自动切换快递并提前发货,不会改已打包状态和打印面单。
操作说明:
5.1 路径:【扫描发货】-【发货设置】,勾选“快递停发自动切换快递提前发货”按钮。

5.2 如当前快递停发,自动切换下个快递并提前发货,会弹窗显示快递停发的快递和提前发货成功的快递。(不会改已打包状态也不会打印面单)

6、【扫描发货--打印设置跟随电脑设置,不跟随账号设置】
功能说明:扫描发货页面的打印设置改为跟随电脑设置,不跟随账号设置。
6.1 同个电脑设置过打印设置,登录同个工厂不同账号,打印设置都保持一致。
6.2 登录其他电脑时,快递类型和打印模版跟随系统设置,打印机跟随其他电脑本地的设置。
路径:【扫描发货】,打印设置,可以设置当前电脑的默认打印设置。

7、【扫描发货--自定义语音增加“已扫描”默认语音】
功能说明:扫描发货页面,自定义语音增加“已扫描”默认语音,默认不勾选,方便标签多,扫快的时候知道有没有扫描到。
操作说明:
路径:【扫描发货】-【发货设置】-【自定义语音】,勾选则扫描条码/订单/快递单时,语音提示“已扫描”,可以自定义文案/上传语音。

8、【扫描发货--整合页面按钮,增加“发货设置”】
功能说明:扫描发货页面增加“发货设置”按钮,整合页面多个功能按钮。
操作说明:
路径:【扫描发货】-【发货设置】,整合“订单发货提示”、“套装编码发货设置”、“temu发货设置”、“自定义语音”四个板块功能。


9、【订单查询--订单商品增加“库位号”显示】
功能说明:订单查询页面增加“库位号”展示,需要审核占用库存后才会显示。
操作说明:
路径:【订单查询】,订单审核占用库存后,订单查询有设置库位的订单,会显示商品库位号。
